電加熱搪玻璃反應釜(電加熱搪瓷反應釜)是根據均勻分布在搪玻璃反應釜夾套底部的優質電加熱器(俗稱:加熱棒)加熱夾套中導熱油,通過油浴傳遞熱量的工作原理,使搪玻璃反應釜內的物料達到工藝要求溫度。電加熱搪玻璃反應釜具有清潔衛生、無污染、升溫快等特點。
電加熱器分布方式有斜插、豎插、斜插豎插交錯等,可以直接接單相電,也可以通過星型、三角型等接法接入380v電源。我公司生產的電加熱搪玻璃反應釜配備有全自動加熱控制柜,可實現單組或多組電加熱器同時工作,具有溫度顯示、電機控制、漏電保護等裝置,完全實現電加熱自動化控制。
搪玻璃電加熱反應釜工作原理:搪玻璃電加熱反應釜使用電熱棒加熱夾套中的導熱油,從而通過夾套內壁對反應釜內物料提供熱量環境。當反應釜的溫度被加熱到所需的水平時,用于控制電加熱棒的溫度測量和控制儀器將關閉它以保持恒定的溫度。從而為反應釜內物料提供指定的理論反應溫度,從而提高物料反應速率效率的進行。
電加熱搪玻璃反應釜(電加熱搪瓷反應釜)(K50L-K5000L)
產品名稱:電加熱搪玻璃反應釜
別名:電加熱搪瓷反應釜
所屬類別:搪玻璃反應釜(搪瓷反應釜)
產品規格:K50L\K100L\K200L\K300L\K500L\K1000L\K1500L\K2000L\K3000L\K4000L\K5000L
產品標準:國家一類二類三類壓力容器設計制造標準
【產品圖片】:
【產品特點】:
1、太極生產的電熱搪玻璃反應器具有加熱速度快、耐高溫腐蝕性能好、衛生性能好、無環境污染、使用方便等特點。
2、太極電加熱搪玻璃反應釜是一種基于國內外先進技術制造的新型搪玻璃設備。在醫藥、化工、食品、天然調味品、食品添加劑、輕工等領域有著廣泛的應用。
3、太極搪玻璃電加熱反應釜是由搪玻璃罐體、搪玻璃罐蓋、搪玻璃攪拌器、夾套、加熱管、支撐和傳動裝置、密封裝置等組成,物料和噴嘴可根據用戶的工藝要求確定。我們還根據客戶的需要設計和制造非標準搪玻璃電加熱反應釜。
4、我們的電加熱搪玻璃反應釜采用TJ09高性能的釉質結合成熟的搪瓷技術涂覆在反應釜的內表面上,確保優良的耐腐蝕、機械沖擊和急劇的溫度變化,和卓越的耐久性。
5、太極搪玻璃設備公司為用戶朋友提供了各種規格的電熱搪玻璃反應釜。模型包括K50L、K 100L、K 200L、K 300L、K 500L、K 1000L、K 1500L、K 2000L、K 3000L、K 4000L、K5000L,等
【電加熱搪玻璃反應器的技術參數】:
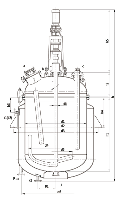
K50L-K5000L電加熱搪玻璃反應釜(電加熱搪瓷反應釜)設計圖紙及參數如下所示:



友情提示:網站樣本所有文字和圖片的所有權都歸淄博太極工業搪瓷有限公司所有,未經許可,不準復制,否則將追究其法律責任。太極搪玻璃設備搪瓷設備公司在此提醒廣大搪玻璃反應釜(搪瓷反應釜)用戶,目前很多小公司甚至搪玻璃設備生產小作坊,盜用我公司產品及設備圖片,并通過網絡欺騙用戶,其搪玻璃設備根本沒有質量保障,給許多客戶生產帶來巨大損失,敬請注意!
|